
| Startpagina | Inhoudsopgave | Lezingen
| Uitgaven
| Op
en rond het Domplein | Vrijwaring
| Contact | |
| Zie voor historische
gegevens over andere Utrechtse huizen op deze webstek ► Middeleeuwse huizen en erven in Utrecht. Voor de datering van Jeruzalemstraat 8-10 zie ► Jeruzalemstraat 8-10 in Utrecht en de hardheid van steen, hout en papier. | De
voorgeschiedenis van
Jeruzalemstraat 8-10 (en Herenstraat 42-44) door Martin W.J. de Bruijn Te
citeren als: M.W.J. de Bruijn, ‘De voorgeschiedenis van Jeruzalemstraat
8-10 (en Herenstraat 42-44’
(www.broerendebruijn.nl/Jeruzalemstraat8-10(2).html, versie van
[datum], geraadpleegd op
[datum]). | 
| [1]
Zie het in de dissertatie
van M. van Dinter Living along the Limes (Utrecht 2017)
opgenomen
artikel van naast Van Dinter ook de geologen, fysisch geografen en
archeologen
J.M. Cohen, W.Z. Hoek, E. Stouthamer E. Jansma en H. Middelkoop, ‘Late
Holocene
lowland fluvial archives and geoarchaeology: Utrecht’s case study of
Rhine
river abandonment under Roman and Medieval settlement’. Nagenoeg iedere
argumentatie ontbreekt in deze ‘studie’. Zie voor de argumenten tegen
deze
ideeën op deze internetpresentatie met name de webpagina’s ► Theorieën
over de rivierlopen, ►
      Tussen Rijn en Vecht en ► De Oudelle. [2] H.L. de Groot, ‘Jeruzalemstraat 4-6’, Archeologische en bouwhistorische Kroniek van de Gemeente Utrecht 1985, 154-157. De teruggevonden resten van Romeinse en middeleeuwse schoeiingen in de Jeruzalemstraat ter plaatse van nummer 6, gezien naar het westen (Archeologische en Bouwhistorische Kroniek van de Gemeente Utrecht 1985, 155). [3] De Groot concludeerde ook, ald. 157, dat deze oever aansloot op het noordelijk deel van de Kromme Nieuwegracht en dat het zuidelijk deel van de gracht gegraven is. Dit is volledig in strijd met de ‘resultaten’ van het in de dissertatie van Van Dinter c.s. over de rivierlopen opgenomen artikel. [4] Zie M.W.J. de Bruijn, Husinghe ende hofstede. Een institutioneel-geografische studie van de rechtspraak over onroerend goed in de stad Utrecht in de Middeleeuwen (Utrecht 1994) m.n. 326-333. Ik verwijs, behalve naar webpagina’s op deze internetpresentatie ook verder een aantal keren naar mijn dissertatie, omdat daar de onderbouwing en bronverwijzingen te vinden zijn. [6] Zie ook voor het hierna volgende Husinghe ende hofstede, 315-319; zie verder ► De Oudelle. [7]
      HUA, Oudm. 2190. [8] Husinghe ende hofstede, 322. [9] Zie m.n. HUA, St.-Pieter 1060a-1 (1418.08.04?), 1060a-2 (1419.08.12) en 1061 (1426.07.11. [10] Ik werd attent gemaakt op de publicatie Tussen Zwaansteeg en Achterom. Het stegenboek van Utrecht, geschreven door Bert Poortman en uitgegeven door de Historische Vereniging Oud-Utrecht (tweede druk, 2021). Na kennisname beperk ik me tot de opmerking die men vroeger nogal eens in verwijzingen naar literatuur tegenkwam: ‘met voorzichtigheid te lezen.’ Zo verwijst de auteur op een aantal plaatsen naar mijn dissertatie, maar hij doet dat zonder paginaopgaven en, wat erger is, hij geeft mijn opvattingen vaak verkeerd weer. 
 
 [12] Ald. 978-4: unam aream sitam in plathea que vulgariter dicitur der Heren straete. Et est sita dicta area a parte orientali iuxta communem viam apud murum civitatis et a parte occidentali extendit se ad domum seu aream Iacobi dicti Dakers, a parte vero septentrionali extendit se ad pomerium domini Iacobi dicti Rode et Wilhelmi dicti Coec et a parte meridionali versus communem viam sive stratam lapideam. De pacht werd op 2 april 1454 door Lubbert Splinter erkend. In het in de vorige noot genoemde cartularium, f. 102: Littera recognicionis Lubberti Splinters de prima et secunda areis prope murum civitatis. [13] HUA, Oudm. 184-2, foto 3. [14]
HUA, Oudm. 483-4 (rekeningen
1390-1401), ontvangsten kleine kamer, 19de
summa: [15]
Ald., ontvangsten kleine kamer, 19de
summa: [16]
HUA, Oudm. 489-1 (rek. kleine kamer 1447-1476): [17] In de rekening van de kleine kamer van Oudmunster van 1489/90 wordt domicella Johanna de Nyeweroyen als bezitster van het erf genoemd (HUA, Oudm. 489-3, rek. 1489/90, ontv. 23ste summa). De rekeningen 1490/91 tot en met 1496/97 ontbreken. [18] HUA, Oudm. 184-2. [19] HUA, Oudm. 980-2 [20] HUA, Oudm. 184-3. De recognitieoorkonde (Oudm. 980-5) is onvoltooid: zij heeft geen datering en geen zegel. 
 | Dankzij de goed bewaard
gebleven
archieven is de geschiedenis van het zuidoostelijk stadsgebied, de Oudelle,
van Utrecht vanaf de dertiende eeuw goed te volgen. Daar stroomde in
oorsprong
geen rivier, zoals sommigen willen.[1]
Het was wel een laaggelegen gebied – Oudelle
betekent oud dal – gelegen
in de binnenbocht van de rivier de Rijn, die vanuit het zuiden in
noordwestelijke en vervolgens in westelijke richting stroomde en bij
het
tegenwoordige Hoog Catharijne het latere stadsgebied weer verder in
westelijke
richting verliet. Voor de aanleg van de oostelijke stadswal en
stadsgracht
omstreeks 1122 zal voor een deel nog van het tracé van de Rijnloop
gebruik zijn
gemaakt.  Tussen de Kromme Nieuwegracht en de
Herenstraat werd in 1985 door de Utrechtse stadsarcheoloog H.L. (Huib)
de Groot
op het perceel Jeruzalemstraat 4-6 de beschoeiing aangetroffen van de
westelijke oever van een rivier, die daar zowel in de Romeinse tijd als
in de
Vroege en Volle Middeleeuwen gestroomd had. Aangenomen mocht worden dat
het
hier om de rivier de Rijn ging, die ten noorden van de burcht Traiectum
of Trecht in westelijke richting stroomde.[2]
       Toen rond 1122 de stadsgrachten
werden aangelegd, werd het stroomopwaartse gedeelte van deze rivierarm
buiten
gebruik gesteld, maar bleef het noordelijk deel van de latere Kromme
Nieuwegracht, vanaf het Hiëronymusplantsoen, als gekanaliseerde
restgeul in
gebruik. Het zuidelijk deel van de Kromme Nieuwegracht, werd gegraven
als sloot
rond de immuniteit, het kerngebied, van het kapittel van Sint-Pieter.[3] Aan de buitenzijde van de gracht,
toen de Regenboog van Sint-Pieter geheten, werden percelen uitgeslagen
en
huizen gebouwd, die aan de lage jurisdictie, het ‘dagelijk gerecht’,
van het
kapittel werden onderworpen.[4] Uit verschillende gegevens blijkt,
dat dit alles al op zijn laatst in de dertiende eeuw zijn beslag heeft
gekregen. In
1228 was men al bezig met het bouwrijp maken van het zuidwestelijk deel
van de
gracht bij de Dam, de latere Pausdam.[5] Het gebied ten zuiden van de
percelen aan de Kromme Nieuwegracht behoorde niet aan het kapittel van
Sint-Pieter, maar dat van Oudmunster. Hier werd de parcellering
uitgeslagen
vanaf de latere Nieuwegracht, toen de Oudelle geheten. In 1252
schonk de
proost van het kapittel een kamp aldaar, dit wil zeggen een omsloten
agrarisch
terrein, en zeven huiserven aan zijn kapittel. Uit latere gegevens
blijkt dat
deze erven gesplitst zijn. Het is aannemelijk dat het gebied van meet
af aan
meer erven dan de genoemde zeven heeft omvat. In 1288 werden er in
ieder geval
twee aan toegevoegd.[6]
Zoals uit de registers en rekeningen van Oudmunster, die vanaf 1295
bewaard
zijn gebleven, blijkt, is het aantal percelen geleidelijk groter
geworden; in
1348 waren het er al 43. De eerste straat die west-oost door
het gebied werd aangelegd, was de Herenstraat, waarvoor de grondslag
waarschijnlijk werd gelegd in een oorkonde van 1 februari 1335. Hierin
droegen
Margriet, weduwe van Gijsbert Calewaert en haar vijf dochters een erf
over  dat erve dat
gheleghen is in der heren gherechte van Oudemonster tUtrecht ende
gheheten is
Groyen camp, streckende afterwaert an haren Nouden bomgaerd, mitter
hofsteden
die voer daer ane gheleghen is, ende mit der steghen die daer
toebehoert
uutgaende voer an der straten, ende streckende after aen den borchwal.[7] Op 24 januari 1338 sloten het
kapittel en de stad een overeenkomst, waarbij de stad van het kapittel
het
recht kreeg alse tot eenre
steghe ewelike te leghen ende dier alman te bruken alse enen vrien
wech, onse
hofstede de leghet in de Oudelle tUtrecht, daer Rutgheer op te wonen
plach,
ende also veel erves daer toe van onsen erve dat daer after die
hofstede
gheleghen is, recht uut te metene oestwaert tot dier stat mure toe,
also breet
alse die hofstede is.[8] De steeg werd van meet af aan der
Heren strate van Oudemunster genoemd, uiteraard de tegenwoordige
Herenstraat. Later heette de straat overigens ook de Winsensteeg, naar
de
familie Van Winsen die er bezit had.[9] Terwijl het gebied ten zuiden van
de Herenstraat tot 1367 een agrarische bestemming heeft behouden – de
hierboven
genoemde kamp en boomgaard duiden hier al op –, werden aan de noordkant
van de
straat, dus in de richting van de Kromme Nieuwegracht, in of kort na
1338 door het
kapittel van Oudmunster achttien percelen ‘uitgeslagen’.[10] Het is lastig om deze percelen
precies te identificeren met die uit later tijd. Dat is voor een deel
te wijten
aan het feit dat de rekeningen waarin de pachtbedragen werden
verantwoord op
den duur niet meer de percelen in de volgorde van hun ligging
behandelden, maar
ten dele geclusterd op de pachtplichtigen. Bovendien ontbreken er
rekeningen
van een aantal jaren, ongelukkigerwijs in dit geval ook die juist voor
ons
onderwerp van belang zijn. Vanuit de rekeningen bezien lijkt
het erop dat het hier behandelde grondstuk, waarop later het huis
Jeruzalemstraat 8-10 gebouwd zou worden, het derde perceel in de
Herenstraat
vanaf de stadswal was. thans Herenstraat 42-44. In de rekeningen van
Oudmunster
werden de kavels vanaf de wal genummerd. Maar de bouwer van dit huis,
de
kanunnik en medicus Christiaan Zenden, heeft oudere akten betreffende
het
perceel aan het kapittel nagelaten en die wijzen behalve op perceel
drie ook op
de percelen twee en één (ongeveer Herenstraat 46 en 48). Deze oudere
akten zijn
opgenomen in een zogeheten transsumpt daterend van 13 april 1450. In
een
dergelijke oorkonde werden voorafgaande rechtshandelingen woordelijk
overgenomen. Het opstellen van een transsumpt was in de vijftiende eeuw
gebruikelijk in de administratie van de stad Utrecht en is
vanzelfsprekend heel
behulpzaam bij het reconstrueren van de geschiedenis van een goed.
Probleem is
wel dat niet altijd alle relevante gegevens betreffende de rechten op
een goed
in een dergelijk transsumpt zijn overgeleverd. Het gaat dus om een
legpuzzel
waarin stukjes ontbreken. Dat lijkt ook hier het geval te zijn. Over de
inhoud
straks meer. Eerst terug naar de percelen aan de noordkant van de
Herenstraat. Van de eerste twee percelen – hierna
te noemen percelen of erven I en II – zijn in het kapitttelarchief van
Oudmunster uitgifteoorkonden bewaard gebleven van 15 april 1353 en 31
maart
1354. In de eerste erkende Lubbert Splinter dat hij het tweede erf,
waarschijnlijk het latere Herenstraat 46, voor 16 schellingen per jaar
van het
kapittel van Oudmunster had ontvangen. Het goed werd – ik vertaal zo
letterlijk
mogelijk – omschreven als ‘een erf gelegen in de straat die gewoonlijk der
Heren strate werd genoemd, en het erf bevat zoals de openbare
straat zich
uitstrekt naar de stadsmuur in de lengte vier roeden en in de breedte
te meten
vanaf de openbare weg of straat naar de boomgaard van heer Jacob Rode,
priester, bevat het tweeënhalve roede, de grenzen van welk erf worden
gezegd:
boven bezit Willem Koec met een erf verkregen van de genoemde
heren,
beneden bezit heer Jacob geheten de Daker, tot de genoemde heren en hun
kerk
behorend’.[11] In de tweede oorkonde, van 31 maart
1354 geeft het kapittel zowel het eerste als het tweede erf voor 36
schellingen
uit aan Lubbert Splinter. De belendingen luiden nu: ‘En het genoemde
erf is
gelegen aan de oostkant bij de openbare weg bij de stadsmuur en aan de
westkant
strekt het zich uit tot aan het huis of erf van Jacob geheten Dakers,
aan de
noordkant strekt het zich uit tot aan de boomgaard van heer Jacob
geheten Rode
en Willem geheten Coec en aan de zuidkant naar de openbare weg
of stenen
straat’.[12] Laten we nu de akten betreffende
het perceel op de oosthoek van de Jeruzalemstraat – hierna te noemen
perceel of
erf III – maar eens aan een nader onderzoek onderwerpen. Om te beginnen
gaat
het zoals gezegd om een oorkonde van 30 april 1450, waarin
verschillende oudere
akten zijn opgenomen. De oudste akte die in het
transsumpt is overgeleverd is een oorkonde van 14 mei 1388, waarin het
kapittel
voor 12 groten per jaar op zekere voorwaarden verleent tot enen
eweliken erfpacht Steven van Ryetvelt Clais soon een hofstede mit allen
horen
toebehoren alse gelegen is inder Nyewerstege diemen gaet uuter Oudellen
toter stat
muere waerts in onsen gherechte tusschen onsen hofsteden aen beyden
zyden die
joncfrou Geertrude Wolf Wolfs soon dochter van Jutfaes aen die oistside
ende
Johans Ruysschen erfnamen aen die westside nu ter tijt van ons in
pachten
hebben.[13] De rekeningen geven uitsluitsel
over de ligging. Die van 1390/91 (ze lopen van Sint-Remeis tot
Sint-Remeis, dus
van 1 oktober tot 1 oktober) vermeldt van west naar oost, dus van de
Nieuwegracht naar de stadswal toe: – de erfgenamen van Jan Ruysch (Rusche)
betaalt
over zijn vier erven 3 pond; – Steven Klaasz. van Rietveld van het erf van
Gijsbrecht van Ruwenhorst of Ruhorst 12 schellingen van perceel III; – Geertruid Wolfs van het erf van wijlen Jan
van der
Meer 12 schellingen van perceel II; – dezelfde van het erf het dichtst bij de
stadsmuur 15
schellingen van perceel I.[14] So far, so good. In de volgende
rekening, van 1391/92, wordt Van Rietvelds weduwe vermeld, waarbij op
de plaats
van haar voornaam een stukje opengelaten is; uit latere rekeningen
blijkt dat
zij Ave heette. Als oostelijke belending – dus erf
II – heeft Ave in 1392/93 in plaats van Geertruid Wolfs de naam
Geertruid Sluters.
Mogelijk gaat het hierbij om een verschrijving van de naam Wolfs,
zo
niet, dan gaat het om een ander. In 1393/94 wordt in plaats van
Geertruid voor erf II Jacob Passert genoemd en van erf I Jan van der
Meer.
Volgens deze rekening zouden beide erven afkomstig zijn van Lubbrecht
Splinter.[15]
Zoals hierboven is gebleken, werd deze ook als gerechtigde vermeld in
de
oorkonden van 15 april 1353 en 31 maart 1354. Op enkele andere gegevens
in deze
rekeningposten kom ik nog terug. In 1411/12 was erf I nog steeds in
het bezit van Jan van der Meer. Helaas ontbreken de rekeningen van
1412/13 tot
en met 1422/23. Hierna vinden we tot en met 1441/42 de erfgenamen van
Jacob
Passert voor de erven II en III en Jan van der Meer voor erf I. Hierna ontbreken helaas de
rekeningen van 1442/43 tot en met 1446/47. In die van 1447/48 krijgen
we een
ander beeld. Na nog de erven van wijlen Jan Ruysch vinden we vermeld: – jonkheer Van Gaasbeek van het
‘hoekerf’ van Jacob Ruhorst (dit moet zijn: Gijsbrecht Ruhorst) – dus erf III; – Jan Moerke (Moerken) van
het erf bij de stadsmuur van Lubbrecht Splinter – erf II; – dezelfde van het erf het dichtst
bij de stadsmuur van Lubbrecht Splinter – erf I.[16] Ik kan hier wat de eerste post
betreft geen andere conclusie uit trekken dan dat er een
administratieve fout
is gemaakt en dat het perceel van de jonkheer Van Gaasbeek niet het erf
III van Gijsbrecht Ruhorst, is. De beide laatstgenoemde
erven, over elk waarvan later door de hierna te noemen domvicaris mr. Peter Hasert 20 schellingen betaald werd,
vormen in werkelijkheid de percelen I, II en III. Dat kan namelijk
worden
afgeleid uit de oorkonden die er zijn overgeleverd, al hebben we al
geconstateerd dat die ook lacunes bevatten. Laten we die oorkonden betreffende
perceel III op de oosthoek van de Jeruzalemstraat, opgenomen in het
transsumpt
van 30 april 1450, met uitzondering van de al behandelde oorkonde uit
1388,
maar eens aan een nader onderzoek onderwerpen.  Blijkens een opgenomen oorkonde van
26 oktober 1430 had Johan Moerke het goed op die datum verkregen van
Gerit
Knoop. Deze was er gerechtelijk aan ‘geëigend’ vanwege een transactie
die Voorn
van Tienhoven met hem gesloten had op 24 februari 1428. Volgens deze
overeenkomst moest hij aan Gerit Knoop 13½ gulden betalen, maar was hij
daarbij
in gebreke gebleven, waarna Gerit beslag had gelegd op het goed in de
Jeruzalemstraat. Ik besteed nadere aandacht aan de interessante
transactie in
een excursie achteraan op deze webpagina. Op de genoemde datum 30 april 1450
droegen Johan Moerke (Moerkijn) en zijn vrouw Haze, met
toestemming van
heer Peter Passert (Passaert), kanunnik van Sint-Marie,
juffrouw Engele,
weduwe van Gerit Voorn van Tienhoven, en hun beider kinderen Gijsbert,
Jacob,
Gerit en Engele over aan de domvicaris mr. Peter Hasert een goed
dat in een oudere, opgenomen oorkonde van 18 december 1428, omschreven
werd als husinghe ende
hofstede gelegen in Oudelle, dair Jan vander Meer oistwairts ende Jacob
Passer
westwairts naist gelegen siin. Het zou dus, gezien de rekeningen,
om perceel II moeten zijn gegaan. Vier in de oorkonde van 30 april
1450 opgenomen schepenoorkonden van na 26 oktober 1430 geven nadere
informatie
over de erfenis van Berend(ke), de (eerste) vrouw van Johan Moerke: – op 18 juni 1439 deed Johans zoon
Bartoud, gehuwd met Willem(ke), ten behoeve van zijn vader afstand van
alles
wat hij van zijn moeder geërfd had; – op 12 februari 1443 deed Johans
zoon Dirk hetzelfde; – op 14 maart van hetzelfde jaar
Johan en Hendrik, kinderen van Reinier Jager, ten behoeve van hun
moeder Haze
afstand van alle goederen die zij geërfd hadden van hun vader (Haze
was, zoals
we zullen zien, de tweede vrouw van Johan Moerke); – op 13 augustus 1443 deed
Steffanie, gehuwd met Johan Spierinck, ten behoeve van haar vader Johan
Moeke
afstand van wat zij geërfd had van haar moeder Berend(ke); Eveneens op 30 april 1450 toonden
de genoemde heer Peter Passert, Engele weduwe van Gerit Voorn van
Tienhoven en
haar kinderen de hierboven genoemde pachtoorkonde  van
14 mei 1388. Door deze laatste oorkonde
was een transfix gestoken van 26 februari 1394, waarin Ave weduwe van
Steven
Klaasz. van Rietveld aan juffrouw Ide Hein Iewijnsdochter overdroeg
haar helft
en haar vruchtgebruik van de andere helft in het betreffende goed. Haar
man
Steven had op 16 december 1371 al zijn goed aan haar in vruchtgebruik
gegeven. Hierna, dus op 30 april 1450, gaven
de genoemde Gijsbert, Jacob en Gerit, heer Peter Passert, juffrouw
Engel,
gehuwd met Gerit Voorn van Tienhoven, en hun beider dochter Engel (dus de zuster van Gijsbert, Jacob en Gerit), het goed
over aan
mr. Peter Hasert. Vervolgens, dus eveneens op 30
april 1450, toonde heer Hubert de Waal, kanunnik van Oudmunster,
daartoe
gemachtigd door zijn kapittel, een volmacht om de voorkoop van het
betreffende
goed kwijt te schelen, wat hij vervolgens voor deze ene gelegenheid
deed. Het is mij niet duidelijk geworden
wie Ide Hein Iewijnsdochter was en hoe het goed vervolgens aan heer
Jacob
Passert is gekomen. Verder ben ik er niet achter gekomen wat de relatie
tussen
Passert en Van Tienhoven is geweest. Peter Passert zal wel een
familielid van
de eerdere bezitter Jacob Passert zijn geweest, maar van de Van
Tienhovens is
mij die relatie niet duidelijk geworden.  Het is evenmin duidelijk hoe het
goed verder vererfd is. In ieder geval vinden we het vanaf 1450 in de
rekeningen van Oudmunster op naam van de genoemde mr. Peter Hasert,
vicaris van
de dom.  Erfgenaam van hem zullen Gerit van
Rijn en zijn zuster Liesbet, gehuwd met Johan van Nijenrode, zijn
geweest.[17]
Blijkens een door de oorkonde van 30 april 1450 gestoken zogeheten
transfixbrief (‘brief’ wil zeggen oorkonde) droegen dezen op 9 februari
1492
over aan Niclaas Lambertsz., kanunnik van Sint-Pieter: die husinghe
ende hofstede mit allen zijnen
toebehoren alsoe die gelegen is opten hoeck van Gaesbeecx steghe, alsoe
heeren
Nyclaes Lamberts soen voirscreven die selve nu gebruyckt ende bewoent,
dair
boven ther stadt mueren wert heeren Braem van Leeuwenberch, canonick
then doem
tUtrecht, ende Gaesbeecx steghe beneden naestgelegen zijn.[18] In de rekening van 1449/50 vinden we nog
dezelfde gerechtigden als in 1447/48, zoals hierboven weergegeven. De
rekeningen van 1450/51 tot en met 1472/73
ontbreken. Die van 1473/74 levert een ander beeld op. Het erf van Van
Gaasbeek,
toen van diens weduwe, is, met een ander Gaasbeek-erf in de opsomming
van de
posten naar voren opgeschoven, dit wil zeggen verder westwaarts. Daarna volgen nog twee posten en dan pas
de
erven I en II die van Lubbrecht Splinter waren geweest en die toen op
naam
stonden van mr. Peter Hasert.  Dat hierbij wel degelijk erf III inbegrepen
was, valt
af te leiden uit het feit dat, zoals uit andere gegevens blijkt, de
erven van
Gaasbeek niet ten oosten maar ten westen van de Jeruzalemstraat gelegen
waren.
Verder staat bij de erven II en III die vroeger van Lubbrecht Splinter
waren
dat daarover binnen een maand dubbele pacht betaald moest worden. Zoals
uit de
hierna te behandelen oorkonde blijkt, hield dit in dat deze dubbele
pacht
verschuldigd was, wanneer niet binnen een maand de jaarlijkse pacht was
betaald. De derde oorkonde die door die van
30 april 1450 getransfigeerd is, dateert van 9 november 1498. Op deze
datum
transporteerde Klaas Lambertsz. voor het schepengerecht aan Christiaan
van
Zenden (Senden) die huysinge
ende hofstede gelegen opten
zuytoesten hoeck van ende inde Gaesbecx stege bynnen Utrecht.[19] Klaas deed dit als gemachtigde van de
karthuizers in Geertruidenberg,
waar zijn naamgenoot en waarschijnlijk ook familielid Klaas Lamberts,
eertijds
kanunnik van Sint-Pieter en toen broeder van het klooster, was
ingetreden en
dit huis aan het klooster had overgedragen. Op dezelfde datum gaf het kapittel van
Oudmunster het goed, nu omschreven
als hofstede ende
huysinge mit alle hoeren toebehoeren als die gelegen is bynnen Utrecht
inder
Oudellen opten houck van Gaesbeecks steghe, als die here Claes
Lambertss.,
welneer canonick tsente Peters tUtrecht, laest gebruyckt heft, daer
boven ter
muren wert heere Braem van Lewenberch, canonick tsente Mertijns, ende
beneden
westwert Gaesbeeck stege voergenoemt naest gelegen sijn voor 12 groten stadsgeld per jaar in
erfelijke pacht aan Christiaan.[20]
Onder de voorwaarden
vinden we ook de dubbele boete binnen een maand vermeld en het
zogeheten
voorkooprecht. In de rekening van 1498/99 vinden we hem
terug als bezitter van de twee
erven van Lubbrecht Splinter. Voor het kapittel was kennelijk niet van
belang
om welke van de oorspronkelijke erven het ging, maar dat jaarlijks het
verschuldigde bedrag, 16+20=36 schellingen stadsgeld, betaald werd. Waar we noch uit de rekeningen noch uit de oorkonden
zicht op krijgen is
hoe het oorspronkelijke perceel II in 1393/94 en perceel III in 1396/97
in het
bezit is gekomen van Jacob Passert, en wat vervolgens zijn relatie was
tot de
domvicaris Peter Passert en de andere hierboven genoemde gerechtigden.
De
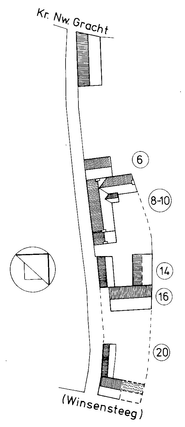
achternaam doet wel een dergelijke betrekking vermoeden.  De route die Christiaan van Zenden liep van en naar de Oudmunsterkerk, waaraan hij als kanunnik verbonden was. Daarom beschouwde hij zijn nieuwe huis thans Jeruzalemstraat 8-10 ook als zijn voorste huis. Tek. M.W.J. de Bruijn in de Archeologische en Bouwhistorische Kroniek van de Gemeente Utrecht 1988, p. 42. | 
| [21] S. Muller Fz., Middeleeuwsche rechtsbronnen der stad Utrecht, dl. I (’s-Gravenhage 1883) 25. [22] Vgl. het Franse avantgarde. [23] HUA, Oudm. 184-2 (akte van 1388.05.14). [24]
      HUA, Dom 1121-118 (akte van
1792.12.10). [25] Ald. 41-42. [26] In mijn genoemd artikel ging ik er (ald. 42) van uit dat het huis of de kamer van de dienstmeid er in 1498 al stond op basis van de zinsnede die huysinge ende hofstede gelegen opten hoeck van ende inde Gaesbeecxstege bynnen Utrecht. Nu meen ik echter dat het bij die ligging gaat om het huiserf en niet de bebouwing. Dit hoeft overigens niet te betekenen dat er toen geen bebouwing op de zuidhoek stond. 
 
 | Exercities als de bovengenoemde leveren ook
nogal eens een interessante,
al dan niet rechtshistorische bijvangst op. In dit geval is dit in de
eerste
plaats de oorkonde van 24 februari 1428, waarin Gerit Knoop ‘geëigend’
werd aan
het goed vanwege de belofte van Voorn van Tienhoven om dagelix ende
malix
voirwairde te houden tot Goderts huus van Rijn, op viertyendenhalven
gulden die
hij Gerijt voirscreven geloift hadde voir Wenemair Jans Costers soon. De uitdrukking dagelix ende malix komt in een
ander verband al
voor in het oudste rechtsboek van de stad Utrecht, het Liber albus,
en
wel in een in 1342 vastgestelde bepaling: Ten sel en
gheen man meer knapen cleden dan
hi daghelix ende malix in sinen cost heeft binnen Utrecht, ende waert
dat de
raed kende dat hi knapen clede buten sinen cost, de verboerde vijf pont
van
elken knaep dien hi clede buten sinen huyes, ende daer en mach hi gheen
onscout
voor doen.[21] Het is mij niet duidelijk of deze bepaling
gericht was tegen het
overdreven vertoon van luxe of om geüniformeerde bendevorming tegen te
gaan
(denk hierbij aan equivalenten van sommige tegenwoordige motorclubs).
Mogelijk
gaat het om beide. Het schijnt me toe dat de uitdrukking staat voor min
of meer
permanent. Voirwaerde houden,
wat
in zijn algemeenheid het nakomen van een overeenkomst betekent, duidt
hier
waarschijnlijk op het lopen van wacht, zo komen we althans de
uitdrukking tegen
in het Middelnederlandsch Woordenboek. Het zou hierbij kunnen
gaan om de waerde of wacht in de avond en de voornacht, vandaar
      voirwaerde,[22]
maar ook het houden van de
wacht vóór de stadsmuren. Ik ben geneigd om aan de laatste betekenis te
denken.
In de jaren twintig van de vijftiende eeuw was ook de stad gewikkeld in
de
oorlog om de macht in het graafschap Holland, in dit geval tussen
Jacoba en Jan
van Beieren. Deze strijd deel uitmaakte van de Hoekse en Kabeljauwse
twisten
waarin de stad Utrecht doorgaans Hoeks was. De zogeheten ‘zoen van
Delft’
maakte op 3 juli 1428 voorlopig een eind aan de tweedracht ende
geschille
- - - die opgestaen ende gerezen zyn, ende langhen tydt
geduirt
hebben tusschen ons hertoge - - - ende ons hertoginnen.
Met de
hertog was Jacoba’s tegenstrever Filips van Bourgondië bedoeld. Ik ga er aldus van uit dat Voorn van
Tienhoven aan Gerit Knoop 13½ gulden
beloofd had voor het houden van de wacht op het huis van Godert van
Rijn en dat
hij die belofte niet was nagekomen, waarna het goed van Voorn in de
Herenstraat
in Utrecht gerechtelijk aan Gerit was toegewezen. Maar zoals altijd
geef ik
mijn mening graag voor een betere. Voorkooprecht Veel kerkelijke instellingen in Utrecht gaven
huizen en erven erfelijk
uit op onder meer de voorwaarde van voorkoop of naasting. In de akten
wordt dit
bijvoorbeeld als volgt uitgedrukt: Voirt siint
voirwairden, wairt sake dat Steven voirscreven, siin erfname of
nacomelinge
dair dese voirscreven hofstede mitter husinge ende tymmeringhe die dair
nu op
staen of hier namaels op getymmert mogen werden alinge of een deel of
renten
dair uut vercopen wouden, dair sellen zij ons den voircoip of bieden
ende geven
voir alsulck gelt als hij inder wairheit ende sonder enigerhande
archeit
bedinget wair.[23] Het lijkt een eenvoudig te vervullen
voorwaarde, met name wanneer de
uitgever van zijn recht afzag, maar de rechtspraktijk leert anders.
Wanneer het
kapittel er geen gebruik van maakte, moest dit in een akte worden
vastgelegd,
die vervolgens door een gemachtigde overgelegd werd bij het gerecht
waar de
overdracht van het goed plaatshad. Dat kon in Utrecht vóór omstreeks
1400 zowel
bij het betreffende dagelijks gerecht, in dit geval van Oudmunster,
gebeuren
dan wel bij het stedelijk schepengerecht. Het laatste was hier het
geval. Voor
de aardigheid geef ik de betreffende oorkonde, van 15 april 1450,
volledig
weer: Wij
deken ende capittel der kercken van Oudemunster tUtrecht doen cond
allen luden
dat wij machtich gemaict hebben ende maken machtich mit desen onsen
brieve
heren Hubert de Wael, onsen mede canonick, van onser wegen ende in
onsen name
quijt te schelden op desen tijt ende over te geven den schout ende
schepenen
tUtrecht tot behoef meester Peter Hasaerts, ewige vicarius inden doem
tUtrecht,
den voircoop vander husinge ende hofstede die gelegen is inder nyewer
stegen
diemen gaet uuter Oudellen ter stat mueren wairt, dair oistwairts Johan
weduwe
vander Meer ende westwairt die nyewe steghe voirscreven naist gelegen
siin, in
alre manieren als joncfrou Engel Voern van Tyenhovens weduwe die van
ons in
enen erfpacht gehadt heeft, behoudeliken ons voirtaen ons voircoops
ende alle
ons rechts, sonder arghelist. Oirconden
deser machten so hebben wij ons capittels segele aen desen brief doen
hangen. Gegeven int
jair ons Heren dusent vierhondert ende vijftich, opten vijftienden dach
in
aprille. Uit de akte blijkt dat de
kwijtschelding alleen voor dit éne geval verleend werd. In de
overdrachtsakte
van het goed van 30 april werd vervolgens de bepaling opgenomen: Ende
doe wij desen voirscreven brief ghesien ende wel verstaen hadden,
aldair so
schout heer Hubert de Wale voirscreven quijt mit sijns gecorens voichts
hant,
dair hij mit rechte ende oirdele aen quam, van wegen des dekens ende
capittels
voirgescreven so hi gemachticht was ende voirscreven is, tot behoef
meester
Peter Hasaerts voirgenoemdt, den voorcoop op desen tijt vander husinghe
ende
hofstede voirghescreven, behoudeliken den deken ende capittell
voirgescreven
voirt aen hoirs voircoops ende alle rechts aender husinge ende hofstede
voirscreven. Het
is allemaal buitengewoon omslachtig, maar toch bevatten veel
uitgifteoorkonden
van kerkelijke instellingen in Utrecht een dergelijke voorkoopclausule.
Ik kwam
het recht bij het domkapittel nog in 1792 tegen.[24] De
oudste bebouwing Tot
slot nog iets over de oudste bebouwing op het perceel Herenstraat
42-44.
Hierover is al het een en ander verteld in mijn artikel ‘De hardheid
van steen,
hout en papier’ in de Archeologische en Bouwhistorische Kroniek van
de
Gemeente Utrecht 1988.[25]
Op basis van het archeologisch en bouwhistorisch onderzoek kon worden
vastgesteld dat de oudste bebouwing niet op de hoek van de Herenstraat
stond,
maar waarschijnlijk ter plaatse van Jeruzalemstraat 16, dus tussen de
bebouwing
aan de Herenstraat en het nieuwe huis van Christiaan van Zenden in.[26]
Deze kanunnik noemde zijn nieuwe huis zijn ‘voorste huis’, omdat hij
uitging
van de ligging ten opzichte van de kapittelkerk van Oudmunster, waar
hij als
kanunnik aan verbonden was. Van bebouwing aan de Herenstraat zelf is
met
zekerheid voor het eerst pas sprake in het zijn testament uit 1528,
maar dat
zegt natuurlijk niet alles. Globaal overzicht
van de bezitsgeschiedenis (met inbegrip van percelen IV en volgende aan
de
westzijde van de Jeruzalemstraat) aan de hand van de rekeningen van
Oudmunster Perceel
I (waarschijnlijk ongeveer Herenstraat 48): 1342/43 Jan Koec (Coke, Coec
of Koec) (18 schellingen) 1348       Willem
Koec (18 schellingen) 1350/51 dezelfde (18 schellingen) 1357/58 Jan van der Meer (waarschijnlijk 15 schellingen) 1370/71 Jan van der Meer (15
schellingen) 1379/80 dezelfde (15 schellingen 1390/91 Geertruid Wolfs (15
schellingen)                
      Lubbert Splinter 1392/93 Geertruid Sluters (=Wolfs)  1393/94 Jan van der Meer 1400/01 Jan van der Meer (20
schellingen) 1405/06 dezelfde (20 schellingen,
waarvoor 9 plakken) 1425/26 dezelfde 1432/33 dezelfde 1440/41 dezelfde 1447/48 Jan Moerke (20 schellingen) 1476/77 mr. Peter Hasert (20
schellingen) Perceel II
(waarschijnlijk
ongeveer Herenstraat 46) 1342/43 Arnoud Groninc (18
schellingen) 1348      dezelfde
(18 schellingen) 1350/51 Gijsbert uter Borch (12
schellingen) 1353/54 Splinter uter Borch (12 schellingen 1357/58 Jan van der Meer (waarschijnlijk 12 schellingen) 1370/71 Jan van der Meer (12
schellingen) 1379/80 dezelfde (12 schellingen) 1390/91 Geertruid Wolfs (12
schellingen)                
      Lubbert Splinter 1392/93 Geertruid Sluters (=Wolfs?) 1393/94 Jacob Passert  1400/01 Jacob Passert (16
schellingen) 1405/06 dezelfde (16 schellingen,
waarvoor 7 plakken) 1425/26 zijn erfgenamen (16 schellingen) 1432/33 zijn erfgenamen 1440/41 zijn erfgenamen 1447/48 waarschijnlijk samengevoegd met perceel I. Perceel
III (Herenstraat
42-44): 1342/43 ontbreekt 1348      ontbreekt 1350/51 Hildegond Ouderidders (12
schellingen) 1353/54 Mechteld de weefster (12 schellingen) 1357/58 Reinier de wever en zijn vrouw Mechteld (12 schellingen) 1370/71 Gijsbrecht van Ruhorst (12
schellingen) 1379/80 dezelfde (12 schellingen) 1390/91 Steven Klaasz. van Rietveld
(12 schellingen) 1395/96 Ava wed. Steven van
Rietveld  1396/97 Jacob Passert (16
schellingen) 1400/01 dezelfde (16
schellingen) 1405/06 dezelfde (16 schellingen) 1425/26 zijn erfgenamen (16 schellingen) 1432/33 zijn erfgenamen 1440/41 zijn erfgenamen 1447/48 Jan Moerke (16 schellingen) 1476/77 Peter Hasert (abusievelijk 20 schellingen!) 1477/78 dezelfde (correct weer 16 schellingen) Percelen IV en
volgende
(Herenstraat -40) 1342/43 Wouter Honderdmark (vier
erven; 3 pond) 1348      Floris
van Engen (twee erven; 30
schellingen) 1350/51 Herman mesmaker (twee
erven; 30 schellingen) 1355/56 Floris van Engen (twee erven; 30 schellingen) 1357/58 Jan Tol (twee erven; 30 schellingen 1370/71 Johan Ruysch (twee erven; 30
schellingen) 1379/80 dezelfde (vier erven; 3 pond) 1400/01 dezelfde (vier erven; 4
pond) 1405/06 Gerrit van den Rijn (twee
erven; 2 pond) 1425/26 Geertruid, vrouw van Willem
van Winsen (twee erven van Johan Ruysch; 2 pond) 1432/33 dezelfde 1440/41 dezelfde 1447/48 dezelfde 1449/50 dezelfde 1476/77 Jeruzalemklooster | 
| © 2021 C.J.C. Broer en M.W.J. de Bruijn. - Gepubliceerd 7 september 2021; laatst bewerkt 9 november 2021. | |